捷邦实用新型专利:一种尾气节能换热器
[0001]本实用新型涉及换热器技术领域,具体涉及一种尾气节能换热器。
[0002]翅片式换热器是气体与液体热交换器中使用最为广泛的一种换热设备,它通过在普通的基管上加装翅片来达到强化传热的目的,翅片式换热器是气体与液体热交换器中使用最为广泛的一种换热设备,它通过在普通的基管上加装翅片来达到强化传热的目的,基管可以用钢管、不锈钢管、铜管等,翅片也可以用钢带、不锈钢带、铜带、铝带等,一般是将尾气排放管道与换热器本体的进气管道连通,然后将尾气输送至换热器内部进行换热过程。
[0003]现有的换热器一般是安装在箱体,而箱体与箱盖之间通过多个螺栓进行连接固定的,当需要拆卸箱盖对箱体内的进行检修维护时,还需要利用工具对多个螺栓进行拆除,操作较为不便,大大降低了工作人员的工作效率,不便于人们的使用。
实用新型内容
[0004]本实用新型的目的在于:为解决上述背景技术中提出的问题,本实用新型提供了一种尾气节能换热器。
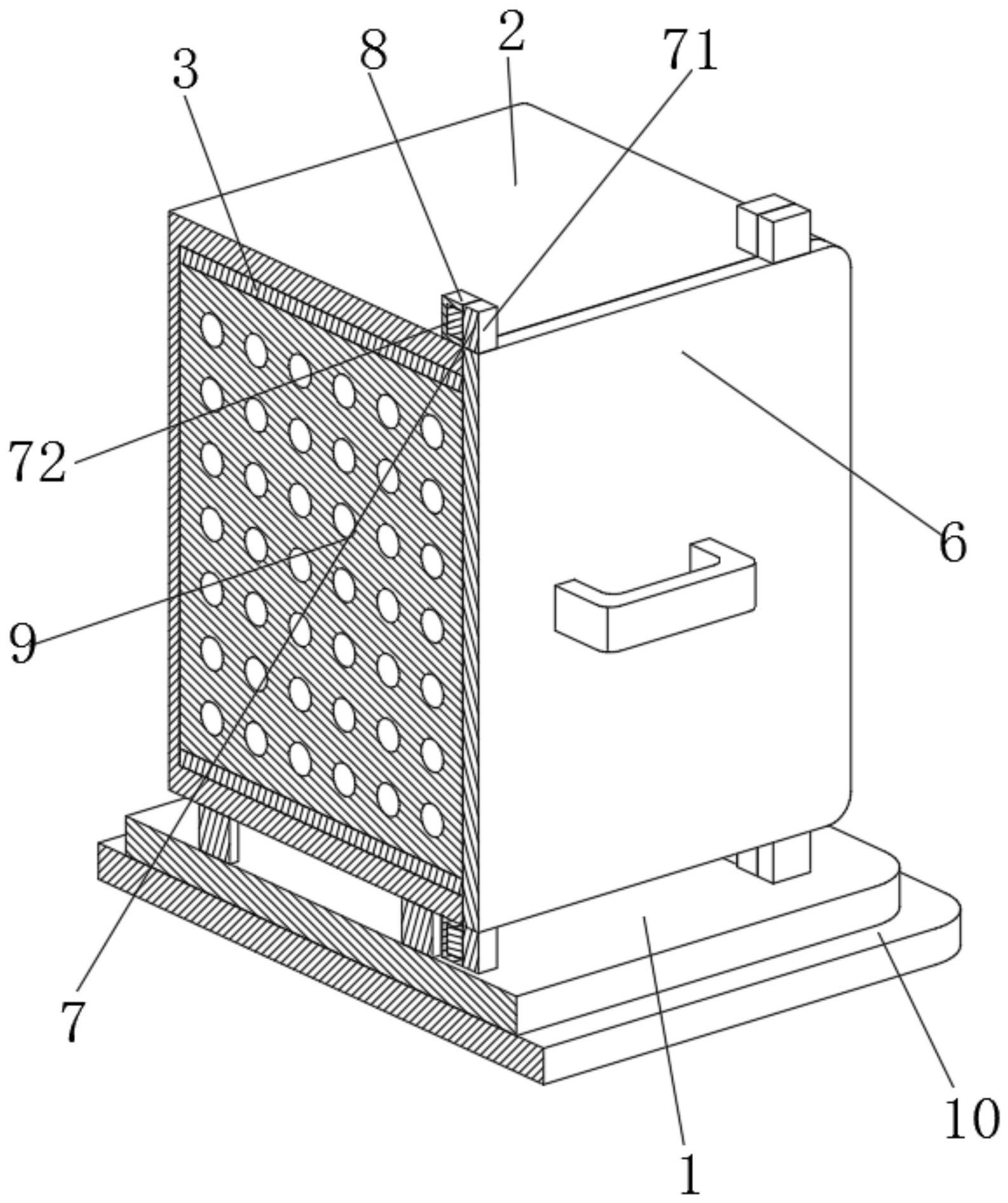
[0005]本实用新型为了实现上述目的具体采用以下技术方案:一种尾气节能换热器,包括:底座;箱体,所述箱体固定安装于所述底座的顶部,所述箱体内壁的顶部和底部均滑动安装有安装板,两个所述安装板之间固定安装有换热器本体;进气管道,所述进气管道贯穿固定于所述箱体的一侧,其一端与所述换热器本体的进气口贴合连通,所述箱体的另一侧贯穿固定安装有出气管道;定位组件,所述定位组件安装于两个所述安装板之间,其用于将所述安装板定位固定在所述箱体内;箱门,所述箱门安装于所述箱体的一侧,所述箱门的顶部和底部均固定安装有两个强力磁铁板,所述箱体的顶部和底部均固定安装有两个铁块,所述强力磁铁板与所述铁块磁性连接,所述箱门的一侧固定安装有把手。
[0006]进一步地,所述定位组件包括两个插板、导向杆以及复位弹簧,所述两个插板呈对称分布分别滑动插设于两个所述安装板,所述箱体内壁的顶部和底部均固定安装有插口,两个所述插板相对的一端分别插设在两个插口内,两个所述插板相邻的一端之间插设有导向杆,所述复位弹簧套设于所述导向杆的外表面。
[0007]进一步地,所述铁块上口有凹槽,所述强力磁铁板包括固定部和磁铁部,所述固定部固定安装于所述箱门上,所述磁铁部固定安装于所述固定部的一侧,所述磁铁部插设于凹槽内,且与所述铁块磁性连接。
[0008]进一步地,所述进气管道所述换热器本体的进气口贴合处设置有密封圈。
[0009]进一步地,两个所述安装板之间滑动插接有过滤板,并且所述过滤板位于所述出气管道的一端与所述换热器本体的出气口之间,用于过滤尾气中的杂质。
[0010]进一步地,所述底座的顶部固定安装有减震垫。
[0011]本实用新型的有益效果如下:
[0012]本实用新型通过强力磁铁板与铁块磁性连接,从而对箱门和箱体进行连接,当需要拆卸时直接用力拉动箱门即可,方便工作人员进行检修,避免了使用多个螺栓安装和拆卸的麻烦,提高了工作人员的工作效率。






